
Google wil in je oog kruipen
Google wil je eigen lens verwijderen en vervangen door een slimme, digitale versie.
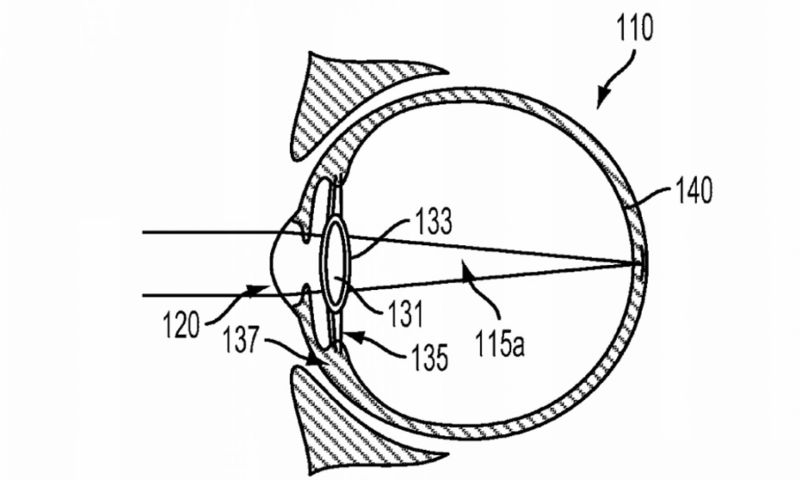
Weer een patentaanvraag van een groot bedrijf dat iets met je ogen wil doen. Deze spant meteen de kroon. Google wil niet op je oog, maar er ín. Het wil een computerlens in je oogbal injecteren. Daarvoor moet het eerst je eigen lens verwijderen, opvullen met vloeistof en dan daarin de elektrische lens stoppen.
Zo’n lens kan je bril of contactlenzen vervangen, maar volgens CNN Money moet je "in feite ook geen telescoop of microscoop meer nodig hebben. En wie heeft er een camera nodig als je ogen foto’s en video’s kunnen maken?”
Met de technologie lijkt Google zich voornamelijk op bejaarden te richten. In de patentaanvraag noemt het namelijk ouderdomsverziendheid als een van de op te lossen kwalen. Het patent is inmiddels toegekend. Nu hopen dat er geen hacker komt die even op je oog inlogt en je alleen maar reclame van pornosites laat zien.
Sony, Samsung en de rest
Van de week patenteerde Sony contactlenzen met een ingebouwd cameraatje. Daarvoor hadden we Samsung, DARPA en de Universiteit van Michigan met hun eigen slimme contactlenzen. Zullen ze er dan echt gaan komen?